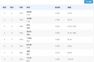
体育资讯11月17日讯 全运会田径女子400米栏决赛,莫家蝶以55秒19的成绩夺得金牌,孔莹蓥获得银牌,欧莹获得铜牌。
女子400米栏决赛成绩详情如下:
1 莫家蝶 55.19
2 孔莹蓥 56.10
3 欧莹 57.29(PB)
4 邹亦凡 57.46(SB)
5 丁依蕊 59.14
6 陆长薇 59.22
7 刘薇 59.34
8 王久香 1:02.16
上一篇: 5金王18岁张展硕夺男子1500米自由泳金牌,横扫5项自由泳金牌
下一篇: 身体第一!18岁张展硕退出男子400米混合泳决赛,决赛4道空缺
比赛中
12-11 17:00
女东南运
菲律宾女足
6
:
0
马来西亚女足
观看比赛:
高清线路
更多
越南女足
2
缅甸女足
东南运
越南U22
马来西亚U22
12-11 17:30
乌克U21
奥布隆U21
梅塔利斯特1925青年队
12-11 18:00
亚冠二级
南定
8
东方
五大联赛免费高清直播
欧塞尔U19vs梅斯U19直播
NCAA东卡罗莱纳vs里奇蒙德大学直播
劲爆体育在线直播
鹈鹕vs火箭nba直播
瑞林根vsETSV汉堡直播
维罗纳vs亚特兰大直播
美青U17资格赛 英属维尔京群岛U17VS圭亚那U17直播